可以生成各等級的會員卡進行販賣贈送
可以生成各等級的會員卡進行販賣贈送
- 插件介紹:詳情
可以生成各等級的會員卡從而進行販賣贈送,比卡密更方便,更實用
用法舉例:可以使用插件生成幾張短期會員卡隨機發放群里給用戶體驗,能充分帶動用戶熱情并且提高會員轉化率
此產品停止售賣
下載地址:Gitee
插件特點
- 可以省去卡密充值余額然后再進行購買vip等繁瑣操作,方便用戶
- 可以充值時附贈一定的余額或者積分
- 插件已接入主題訂單系統,購買完成后會生成相應訂單,方便記錄
- 插件交互使用token,與主題一致,完美兼容
- 插件支持生成不同vip等級的會員卡
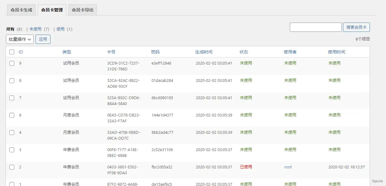
- 插件支持后臺對會員卡進行管理
- 插件支持后臺對會員卡進行篩選
- 插件支持后臺對會員卡進行搜索
- 插件支持篩選然后導出會員卡列表
- 可以限制用戶兌換每種會員卡的數量
- 支出短代碼輸出列表 短代碼:?[b2_vipcard start=”開始id” end=”結束ID”]
插件會員卡獨立兌換頁面:?您的域名/vipcard (如果404,請重新保存下網站設置里的固定鏈接)





